Saturday April 2026

হটলাইন

কনটেন্টটি শেষ হাল-নাগাদ করা হয়েছে: শুক্রবার, ৩১ আগস্ট, ২০১২ এ ০৫:২৯ PM

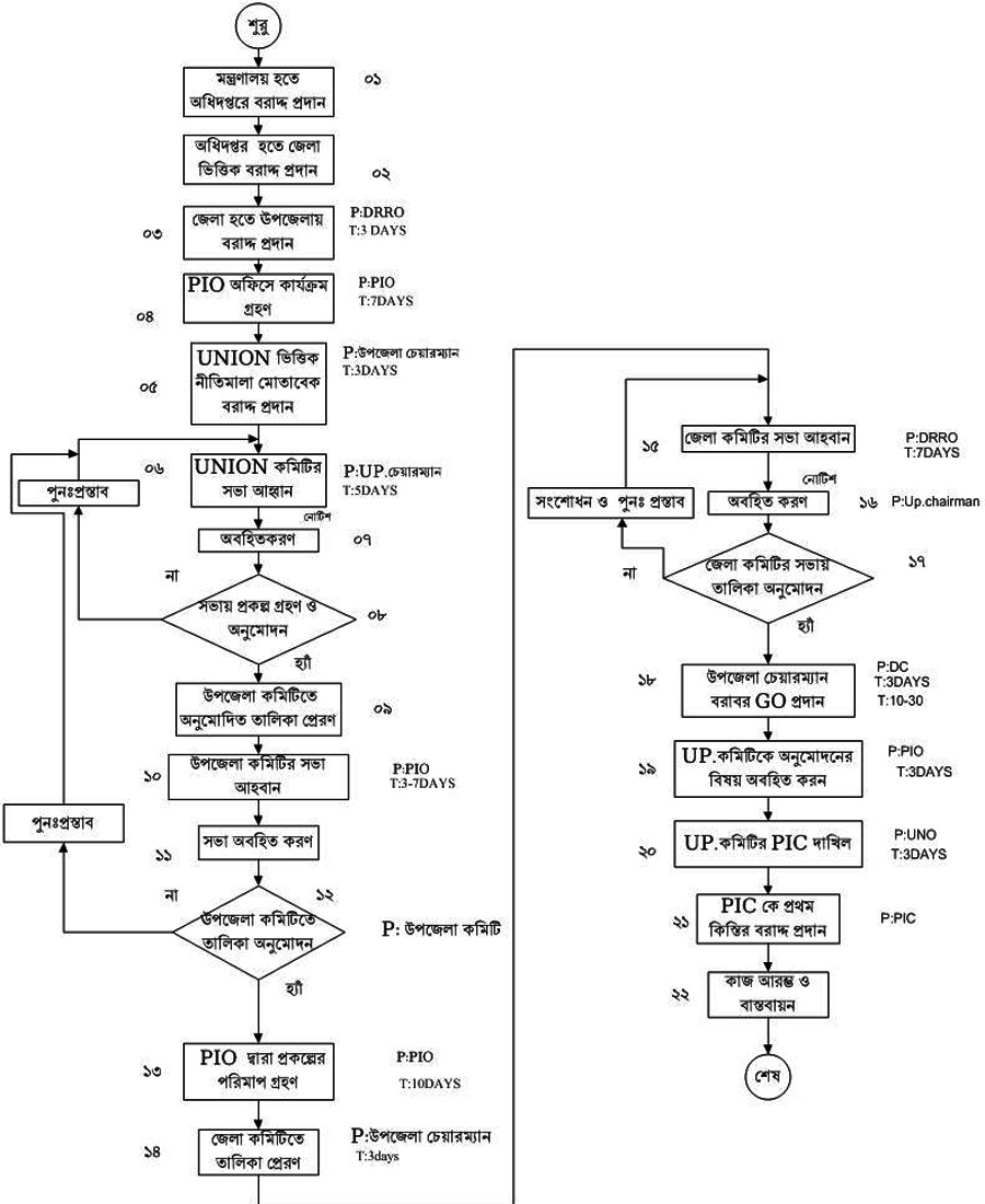
কাবিখা / কাবিটা(সাধারণ)

কন্টেন্ট: সেবা এবং ধাপ

ফাইল ১

এক্সেসিবিলিটি

স্ক্রিন রিডার ডাউনলোড করুন